특허무효심판 방어 성공, 특허심판원 승소

특허무효심판 방어 성공, 특허심판원 승소

특허무효심판이 들어온 것을 방어에 성공한 소송 성공사례를 소개해보고자 합니다.

저희 특허사무소 소담은, 어느 대학교 교수님의 특허에 대해서 작년에 상대방이 소극적 권리범위확인심판, 즉, 특허침해가 아니라고 주장하는 심판을 대응하여 특허침해가 맞다라는 판결을 특허심판원과, 특허법원에서 받아낸 바 있습니다.
그 후, 상대방은 침해주장이 받아들여지지 않으니, 특허무효심판을 제기하여 왔습니다.

변리사
변리사

1. 특허무효심판이란?

특허무효심판은 등록된 특허의 무효 여부를 가리는 절차로, 특허청 특허심판원에서 진행됩니다. 특허 등록 후에도 이해관계인은 누구나 특허에 무효 사유가 있다며 무효심판을 청구할 수 있습니다. 심판에서 특허가 무효로 결정되면 특허권은 처음부터 없었던 것으로 간주되므로, 특허권자로서는 권리를 잃게 되는 치명적인 상황에 직면하게 되는 것이죠.

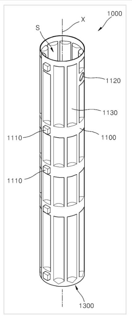
2. 특허 내용

특허 도면

특허 발명은 식물 재배 용기 및 이를 이용한 식물재배 방법에 관한 것으로서, 특히 감초와 같은 직근형 식물에서 주근의 생장을 향상시키는 식물 재배 용기 및 이를 이용한 식물 재배 방법에 관한 것이다. 본 발명에 의하면, 내부에 재배 토양이 채워지는 재배 공간을 형성하도록 통 형상으로 탄성변형된 벽체를 포함하며, 상기 벽체에는 둘레방향 양 단부를 분리가능하게 결합시키는 다수의 결합부가 마련된 것을 특징으로 하는 곧은 뿌리 식물용 재배 용기에 대한 것입니다.

3. 특허무효를 주장하는 상대방

농업용 화분 특허 무효심판, 승소할 수 있었던 이유는? 최근 저는 변리사로서 농작물 재배용 화분에 관한 특허의 무효심판에서 특허권자 측을 대리하여 특허 유효 결정을 이끌어 낼 수 있었습니다. 이 사건에서 청구인은 선행기술과 비교하여 특허 발명이 신규성과 진보성이 없다고 주장하였습니다.

특허무효심판
무효를 주장한 증거자료1
특허무효심판
무효를 주장한 증거자료2

4. 특허무효 주장에 대한 대응

선행기술로부터 특허발명을 쉽게 도출하기 어려웠던 이유

이번 농업용 화분 특허 무효심판 사건에서 특허권자 측은 선행기술과 비교하여 특허발명의 진보성을 입증하는 데 주력하였습니다. 특허발명이 선행기술로부터 쉽게 도출될 수 없었음을 보이기 위해, 다음과 같은 논리를 펼쳤습니다.
선행기술에는 특허발명의 구성을 쉽게 결합할 만한 동기나 시사점이 없었다는 점을 강조하였습니다.

“비교대상발명 1은 별개의 두 개 본체를 결합하여 화분을 구성하는 반면, 이 사건 특허발명은 하나의 판상부재로 화분 전체를 형성합니다. 선행기술에는 하나의 부재로 화분을 구성하는 기술적 시사점이 전혀 나타나 있지 않습니다.”
“비교대상발명 2는 나무 보호대에 관한 것으로, 화분과는 기술분야와 해결과제가 전혀 다릅니다. 통상의 기술자가 비교대상발명 2의 구성을 화분에 적용할 만한 동기를 찾기 어려울 것입니다.”

설령 선행기술의 구성을 결합하더라도 특허발명의 효과를 예측하기 어려웠음을 부각하였습니다.

“이 사건 특허발명은 하나의 판상부재를 절곡하고 양 단부를 결합함으로써, 간편하게 화분을 조립하고 해체할 수 있습니다. 이는 선행기술에서는 전혀 예측할 수 없었던 현저한 효과입니다.”

“화분의 조립과 해체가 용이하다는 특허발명의 효과는 선행기술의 단순한 구성 변경만으로는 달성하기 어려운 것입니다. 오히려 이러한 효과는 특허발명의 전체 구성이 유기적으로 결합됨으로써 발휘되는 것입니다.”

객관적 자료를 통해 특허발명의 진보성을 뒷받침하였습니다.

“출원 당시 선행기술에서 이 사건 특허발명의 구성을 명시적으로 제안한 바 없으며, 특허발명의 효과에 대해서도 전혀 언급이 없었습니다. 이는 특허발명이 당업계에서 자명한 것이 아니었음을 보여줍니다.”
“현재 시판 중인 농업용 화분 제품들을 살펴보면, 대부분 이 사건 특허발명의 구성을 채택하고 있음을 알 수 있습니다. 이는 특허발명의 작업 효율성 개선 효과가 업계에서 널리 인정받고 있음을 방증하는 것입니다.”

특허심판원은 위와 같은 특허권자 측의 논증을 받아들여, 통상의 기술자가 선행기술로부터 특허발명을 쉽게 도출하기는 어려웠을 것으로 판단하였습니다. 결국 특허의 진보성이 인정되어 특허권자의 손을 들어 주었던 것입니다.

이처럼 특허 유효성을 객관적으로 입증하기 위해서는 선행기술의 결합 동기나 용이성을 치밀하게 분석하고, 특허발명의 현저한 효과를 논리적으로 설득해야 합니다. 나아가 출원 당시의 기술수준과 관련 업계의 기술 동향 등을 입증자료로 제시한다면 진보성 주장에 더욱 힘이 실릴 것입니다.

특허무효심판
특허무효심판 심결문

5. 특허심판원의 판단 결과

특허심판원은, 발명의 차이점과 효과를 인정 특허심판원은 청구인의 주장을 받아들이지 않고, 특허 발명이 신규성과 진보성을 갖추었다고 판단하였습니다.

우선 신규성 측면에서 특허심판원은 “이 사건 제1항 특허발명은 ‘하나’의 판상부재에 제1, 2 결합구조를 구비하여 상호 결합함으로써 통 형상을 이루는 반면, 비교대상발명 1은 ‘두 개’의 동형 본체에 결합구조를 각각 형성하여 연결한다는 점에서 차이가 있다”고 밝혔습니다.

진보성에 대해서도 “이 사건 특허발명은 하나의 판상부재로 재배 용기를 쉽게 형성하고 분리할 수 있어, 비교대상발명들에 비해 작업 효율이 현저히 개선되는 효과가 인정된다”며 “통상의 기술자가 선행기술로부터 이 사건 특허발명의 구성을 용이하게 도출할 수 있다고 보기 어렵다”고 설명했습니다.

특허 유효성을 지키기 위한 전략 이번 농업용 화분 특허 무효심판 사건의 승소 요인은 발명의 특징과 효과를 선행기술과 비교하여 구체적이고 설득력 있게 설명한 점에 있습니다. 막연히 특허가 유효하다고 주장하는 것이 아니라, 발명의 구성과 효과를 논리적으로 입증하는 전략이 주효했던 것이죠.

아무리 등록된 특허라 하더라도 무효 공격에 대비하여 지속적인 관리가 필요합니다. 자사 특허의 권리범위를 명확히 파악하고, 선행기술을 면밀히 분석하여 특허성을 객관적으로 평가해 보아야 합니다. 만약 경쟁사에서 무효심판을 청구해 온다면, 특허의 구성요소별 특징과 유리한 효과를 부각하는 데 집중하며 차근차근 대응해 나가야 할 것입니다.

6. 시사점

기술 혁신에 대한 정당한 독점권으로서 특허권의 존속은 기업 경쟁력의 핵심 요소입니다. 등록 단계에서 특허의 강점을 극대화하는 명세서 작성이 선행되어야 하겠지만, 등록 후에도 면밀한 관리를 통해 특허의 효력을 유지해 나가는 것이 무엇보다 중요합니다.

정당한 지식재산권의 행사야말로 기술 개발을 장려하고 산업 발전을 이끄는 원동력이 될 수 있습니다. 특허권자라면 전문가의 도움을 받아 특허권을 충실히 보호함으로써, 기술과 시장에서의 경쟁우위를 확보해 나가시기 바랍니다.

특허사무소 소담은, 변리사 출신으로 변호사 자격까지 갖춘 변리사출신의 변호사와, 국내 대기업의 특허를 담당했던 시절 대기업으로부터 우수대리인상을 수상한 변리사가 특허등록 뿐만 아니라 등록 후 소송, 침해까지 최선의 노력을 다하고 있습니다.

변리사
특허사무소 소담 여인재