특허무효 진보성 판단, 구성요소를 쪼개서 보면 다 공지라는 함정 — 대법원 파기환송 사례 분석

특허무효 진보성 판단, 구성요소를 쪼개서 보면 다 공지라는 함정 — 대법원 파기환송 사례 분석

목차

대법원 2026. 1. 15. 선고 2024후10641 판결은, 자동차 안전벨트 위축기 특허의 진보성이 다투어진 사건에서, “구성요소를 하나씩 분해하여 각각 공지 여부만 따지는 방식”으로는 결합 발명의 진보성을 판단할 수 없다는 법리를 재확인하며 원심을 파기환송하였습니다. 특허심판원은 진보성을 인정하였고, 특허법원은 이를 뒤집어 진보성을 부정하였으나, 대법원은 다시 진보성을 인정하였습니다. 동일한 특허를 놓고 심급마다 결론이 엇갈린 이 사건은, 결합 발명의 진보성을 판단할 때 실무자가 빠지기 쉬운 함정과 그 대응 방안을 구체적으로 보여줍니다.

종래 실무와 결합 발명 진보성 판단의 법리

결합 발명의 진보성 판단에 관한 대법원의 기본 법리는 대법원 2007. 9. 6. 선고 2005후3284 판결에서 확립되었습니다. 이 판결은 ① 청구항이 복수의 구성요소로 되어 있는 경우, 각 구성요소가 유기적으로 결합한 “전체로서의 기술사상”이 진보성 판단의 대상이 되는 것이지, 각 구성요소가 독립하여 진보성 판단의 대상이 되는 것이 아니라는 점, ② 여러 선행기술 문헌을 인용하여 진보성이 부정된다고 하기 위해서는, 그 기술을 결합하면 해당 특허발명에 이를 수 있다는 “암시 또는 동기”가 선행기술 문헌에 제시되어 있어야 한다는 점을 명확히 하였습니다.

이 법리 자체는 실무에서 널리 알려져 있습니다. 그러나 실제 사건에 적용할 때에는, 특히 기계 분야의 복잡한 결합 발명에서, 각 구성요소를 개별적으로 떼어 놓고 “이 구성은 선행발명 A에 있고, 저 구성은 선행발명 B에 있으니 결합하면 된다”는 식의 분석으로 빠지기 쉽습니다. 이번 사건에서 특허법원이 바로 그러한 접근을 취하였고, 대법원은 이를 정면에서 부정하였습니다.

아울러, 이번 판결에서 대법원은 대법원 2007. 8. 24. 선고 2006후138 판결 및 대법원 2025. 7. 16. 선고 2022후10524 판결을 함께 인용하며, 진보성 판단의 대상이 된 발명의 명세서에 개시되어 있는 기술을 알고 있음을 전제로 사후적으로 판단해서는 안 된다는 원칙도 재차 강조하였습니다.

사건의 배경 — 벨트 위축기 특허와 당사자

이 사건 특허발명

이 사건 특허발명(특허 제1642068호)은 “힘 제한 장치 및 조임 장치를 구비한 벨트 위축기”라는 명칭의 발명으로, 자동차 안전벨트 시스템에 관한 것입니다. 우선일은 2008. 11. 27.이고, 2016. 7. 18. 등록되었으며, 특허권자는 스웨덴의 자동차 부품 기업입니다.

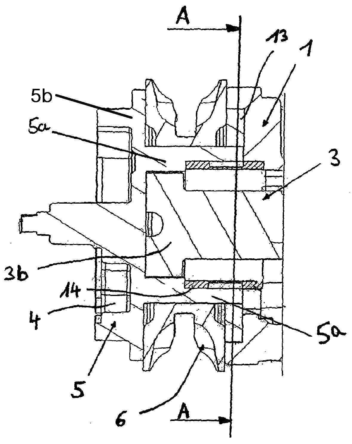
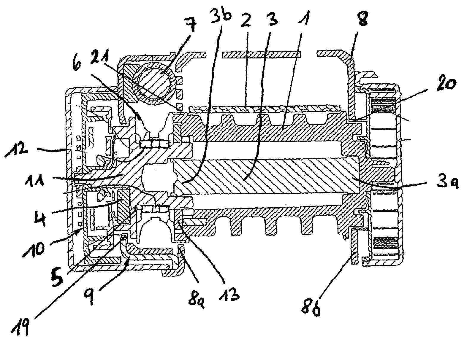
자동차 안전벨트의 위축기는 벨트를 감아들이는 스풀, 충돌 시 벨트를 순간적으로 잡아당기는 프리텐셔너(인장 장치), 충돌 후 탑승자에게 가해지는 하중을 제한하는 토션바(부하 제한 장치), 그리고 벨트 풀림을 방지하는 잠금장치 등으로 구성됩니다. 이 사건 특허발명은 이러한 구성요소들을 “더 단순하고 소형화된 구조”로 결합하는 것을 기술적 과제로 삼고 있습니다.

이 사건 특허발명의 기술적 특이성은 다음과 같습니다.

구분이 사건 특허발명의 구성
벨트 샤프트 구조2-부분 벨트 샤프트(제1 부분 + 제2 부분)로 구성
인장기 구동 휠 배치제2 부분의 링 원통형 부속부 상에서, 제1 부분과 제2 부분의 외측부 사이에 배치
하우징프레임에 고정되는 별도의 하우징 내부에 인장기 구동 휠, 잠금장치 등 배치
잠금 구조하우징의 톱니와 잠금장치가 맞물려 제2 부분을 차량에 고정
부하 제한 장치링 원통형 부속부 안으로 연장

이러한 구조를 통해 ① 위축기의 소형화가 가능하고, ② 프레임이 변형되더라도 잠금 상태가 해제되지 않아 안전성이 향상되며, ③ 인장 과정에서 발생하는 소음과 가스가 외부로 누출되지 않는 효과를 얻을 수 있습니다.

이 사건 특허발명 도 1 — 벨트 위축기 단면도
이 사건 특허발명 도 2 — 하우징 및 잠금장치 상세

당사자 관계

원고(무효심판 청구인)는 주식회사 우신세이프티시스템으로, 국내 자동차 안전벨트 부품 제조사입니다. 피고(특허권자)는 스웨덴의 아우토리브 디벨롭먼트 아베로, 글로벌 자동차 안전장치 기업입니다. 원고는 이 사건 특허발명이 선행발명들에 의하여 진보성이 부정되어 무효라고 주장하며 등록무효심판을 청구하였습니다.

심급별 판단 히스토리 — 같은 특허, 엇갈린 결론

이 사건의 가장 흥미로운 점은, 동일한 특허에 대하여 심급마다 진보성 판단의 결론이 달라졌다는 것입니다.

심급사건번호선고일결론인용 선행발명
특허심판원2022당7552022. 10. 25.진보성 인정 (심판청구 기각)비교대상발명 1~4
특허법원2022허62972024. 6. 13.진보성 부정 (심결 취소)선행발명 5, 9, 10
대법원2024후106412026. 1. 15.진보성 인정 (파기환송)선행발명 5, 9, 10

(1) 특허심판원 — 진보성 인정

특허심판원은 비교대상발명 1~4 각각과 이 사건 제1항 발명을 대비하여, 모든 비교대상발명에서 공통적으로 구성 3, 5, 7(2-부분 벨트 샤프트의 잠금 구조, 인장기 구동 휠이 링 원통형 부속부 상에서 외측부 사이에 배치되는 구성, 프레임에 고정된 별도 하우징 내 잠금 구조)에 차이가 있음을 확인하였습니다.

특허심판원의 분석은 상세하였습니다. 비교대상발명 1~4 모두에서 ① 피니언(인장기 구동 휠)이 차량에 잠금되는 제2 부분이 아닌 그 반대쪽에 배치되어 있거나, ② 제1 부분과 제2 부분의 외측부 사이가 아닌 외부에 배치되어 있고, ③ 프레임에 결합되는 별도의 하우징이 없어 잠금장치가 하우징의 톱니에 맞물리는 구성이 전혀 개시되어 있지 않다는 점을 확인하였습니다.

비교대상발명 1 — 스풀 조립체 사시도
비교대상발명 2 — 위축기 단면도

나아가 특허심판원은 각 비교대상발명의 기술적 과제가 이 사건 특허발명과 다르므로, 대응 구성을 변경할 동기나 필요성이 부족하고, 변경하는 것은 본연의 기술적 의도와 배치될 뿐 아니라 상당한 구조 변경이 수반된다고 판단하였습니다. 비교대상발명 1~4를 서로 결합하더라도 공통적으로 차이나는 구성 3, 5, 7은 어디에도 개시되거나 암시되어 있지 않으므로, 차이점을 극복할 수 없다고 결론지었습니다.

비교대상발명 4 — 분해 사시도
비교대상발명 4 — 단면 상세도

(2) 특허법원 — 진보성 부정

특허법원 단계에서는 원고(무효심판 청구인)가 특허심판원에서 인용되었던 비교대상발명 1~4와는 다른 선행발명 5, 9, 10을 새로 제출하였고, 이들이 주요 인용례로 등장하였습니다. 특허법원은 “선행발명 5에 선행발명 9, 10을 결합하면 진보성이 부정된다”고 판단하여 심결을 취소하였습니다.

여기서 선행발명 5는 화약식 인장 장치인 파이로테크닉 텐셔너와 전기식 인장 장치인 가역적 벨트 텐셔너를 함께 사용하는 벨트 위축기에 관한 발명입니다. 선행발명 5는 벨트 스풀을 기준으로 한쪽에 가역적 벨트 텐셔너와 잠금장치를, 그 반대쪽에 파이로테크닉 텐셔너를 배치하는 구조를 가지고 있었습니다.

특허법원은 선행발명 5에서 파이로테크닉 텐셔너를 “제거”하면 차이점 1(인장 장치 배치의 차이)이 극복되고, 나머지 차이점도 선행발명 9, 10을 결합하면 극복 가능하다고 보았습니다. 이 판단이 바로 대법원에서 정면으로 부정된 부분입니다.

(3) 대법원 — 진보성 인정, 파기환송

대법원은 특허법원의 진보성 판단에 법리 오해가 있다고 보아, 5개 차이점 중 차이점 1, 3, 4, 5 각각에 대하여 선행발명의 결합으로 극복이 불가능하다고 구체적으로 판시하였습니다.

대법원의 판단 — 차이점별 상세 분석

이 사건 특허발명과 선행발명 5의 차이점

대법원이 인정한 5개 차이점의 내용은 다음과 같습니다.

차이점이 사건 제1항 발명선행발명 5
차이점 1잠금장치와 같은 쪽에 인장 장치 배치, 반대쪽에 다른 인장 장치 없음캐치 캐리어와 같은 쪽에 가역적 벨트 텐셔너(전기식), 반대쪽에 파이로테크닉 텐셔너(화약식)도 배치
차이점 2부하 제한 장치가 링 원통형 부속부 안으로 연장토션 로드가 링 원통형이 아닌 캐치 캐리어 안으로 연장
차이점 3톱니가 하우징 내부에 포함잠금 톱니가 기어 하우징과 별도로 형성되어 외부에 부착
차이점 4인장기 구동 휠이 제1 부분과 제2 부분의 외측부 사이에 안착외측부에 대응되는 구성 없음
차이점 5프레임에 고정되는 별도의 하우징이 내부 부품을 감쌈기어 하우징은 모듈화된 기어박스일 뿐, 프레임에 연결되어 내부 부품을 감싸는 구성이 아님

차이점 1 — 선행발명의 기술적 과제를 무시한 사후적 고찰

대법원이 가장 먼저 지적한 것은, 특허법원이 선행발명 5에서 파이로테크닉 텐셔너를 “제거”하면 차이점 1을 극복할 수 있다고 본 판단의 문제점이었습니다.

선행발명 5의 기술적 특이성은 가역적 벨트 텐셔너(전기식)와 잠금장치를 같은 쪽에 배치하고, 파이로테크닉 텐셔너(화약식)와 구동스프링을 같은 쪽에 배치하여 “상호간에 독립적으로 배치 및 구동되도록 하는 것”에 있었습니다. 즉, 선행발명 5는 화약식 인장 장치와 전기식 인장 장치를 하나의 위축기에 함께 사용하는 경우, 부하 제한 장치의 작동에 따른 벨트 인출이 간섭받고 그 조합에 상당한 비용이 요구되는 등의 문제를 해결하는 것이 기술적 과제였습니다.

대법원은 이 점을 명확히 지적하였습니다. 선행발명 5에서 파이로테크닉 텐셔너를 제거하면, 선행발명 5가 해결하고자 하는 기술적 과제나 기술적 의의 자체가 무너지게 됩니다. 특히 대법원은 “선행발명 5는 이 사건 제1항 발명이 해결하고자 하는 기술적 과제인 ‘구조의 단순화, 소형화’에 관해서는 아무런 인식조차 없었음을 고려할 때 더욱 그러하다”고 판시하였습니다.

이는 사후적 고찰 금지 원칙의 전형적인 적용입니다. 이 사건 특허발명을 이미 알고 있는 상태에서 역추적하면, “파이로테크닉 텐셔너를 빼면 되지 않는가”라는 발상이 자연스러워 보입니다. 그러나 이 사건 특허발명을 모르는 상태에서 선행발명 5만 놓고 보면, 두 가지 인장 장치의 공존이 발명의 핵심이므로, 그중 하나를 제거할 동기가 존재하지 않습니다.

대법원은 선행발명 10에 대해서도 검토하였습니다. 선행발명 10의 명세서에는 “제1 프리텐셔너 기구를 생략할 수 있다”는 기재가 있었으나, 동시에 “제1 프리텐셔너 기구를 생략할 경우 좌우 밸런스의 불균형이 발생하므로 긴급 잠금 동작기구를 적용하는 것이 좋다”는 취지의 기재도 있었습니다. 대법원은 이를 근거로, 선행발명 10에서 프리텐셔너 기구를 생략하면 상당한 설계 변경이 필요하게 되며, 이것이 오히려 결합에 대한 부정적 교시가 될 수 있다고 판단하였습니다.

차이점 3 — 대응 구성요소의 기능 차이

차이점 3에 관하여, 특허법원은 선행발명 9의 링부(24), 폴(20), 래칫 톱니(22)가 이 사건 제1항 발명의 하우징(9), 잠금장치(4), 톱니(19)와 각각 대응된다는 전제 하에 결합 가능성을 인정하였습니다.

그러나 대법원은 이 대응 관계 자체가 잘못되었다고 판단하였습니다. 선행발명 9에서 이 사건 제1항 발명의 잠금장치(4) 및 톱니(19)에 기능적으로 대응하는 구성은, “부하 제한 장치의 기능을 수행하는 폴(20) 및 래칫 톱니(22)”가 아니라, “잠금장치의 기능을 수행하는 종래의 잠금기구 및 래칫 톱니수단(10a)”이었습니다.

즉, 외관상 명칭이나 형상이 유사하더라도, 수행하는 기능이 다른 구성요소는 서로 대응되는 것으로 볼 수 없고, 따라서 그러한 구성요소를 결합할 동기나 암시도 존재하지 않습니다. 대법원은 나아가, “선행발명 9는 링부(24) 내에 폴(20)과 래칫 톱니(22)를 제외하면 별다른 구성요소가 없고 회전 구동부도 링부(24)의 반대쪽에 있는 반면에, 이 사건 제1항 발명은 하우징(9) 내에 잠금장치(4) 외에 인장기 구동 휠(6)까지 배치해야 하므로, 선행발명 9를 선행발명 5에 결합하기 위해서는 상당한 구조적 설계 변경이 필요할 것으로 보인다”고 판시하였습니다.

비교대상발명 3 — 정면도 및 단면도

차이점 4 — 대응 구성의 부재와 특유 효과

차이점 4는 이 사건 제1항 발명의 “외측부(5b)”에 관한 것입니다. 선행발명 5에는 이에 대응되는 구성요소 자체가 없었습니다. 대법원은 외측부(5b)의 존재로 인한 특유한 효과를 구체적으로 적시하였습니다.

① 인장기 구동 휠(6)이 제1 부분(1)과 제2 부분의 외측부(5b) 사이에 안착되므로, 고속 회전 시에도 비교적 안정적인 구조를 가질 수 있습니다. ② 외측부(5b)의 직경이 하우징(9)의 내부 직경보다 커서, 제2 부분과 인장기 구동 휠 등의 내부 부품이 하우징 밖으로 이탈되지 않도록 하는 걸림부 역할도 수행합니다.

이 부분은 결합 발명의 진보성 판단에서 “전체 구성으로서의 특유한 효과”를 고려해야 한다는 법리의 직접적인 적용입니다. 선행발명 5에는 외측부 자체가 없으므로, 이러한 효과를 기대할 수 없고, 그 차이를 극복하기도 어렵다고 본 것입니다.

차이점 5 — 하우징의 기능적 차이

차이점 5에서 대법원은 이 사건 특허발명의 하우징(9)과 선행발명 5의 기어(32) 하우징이 그 기능과 구성에서 전혀 다른 구성요소라는 점을 분명히 하였습니다.

구분이 사건 특허발명의 하우징(9)선행발명 5의 기어(32) 하우징
기능프레임에 고정되어 인장 장치, 잠금장치, 제2 부분 등을 감싸서 보호전기모터와 기어 등을 보호하는 모듈화된 기어박스
보호 범위내부 부품 전체(인장 장치 + 잠금장치 + 제2 부분)기어박스 내부 부품만(캐치 캐리어, 잠금 톱니 등은 보호 불가)
소음/가스 차단화약식 또는 전기식 인장 장치와 무관하게 내부 소음·가스 차단기어 하우징 외부의 소음 등 차단 불가

같은 “하우징”이라는 명칭을 사용하더라도, 그것이 발명에서 수행하는 기능이 근본적으로 다르면 대응 구성요소로 볼 수 없고, 결합의 동기도 인정되지 않습니다.

이 판결의 실무적 의의

(1) 구성요소 분해 대비의 한계

이 사건은 구성요소를 하나씩 분해하여 각각의 공지 여부만 따지는 접근의 위험성을 생생하게 보여줍니다. 특허법원은 차이점을 개별적으로 파악한 뒤, 각 차이점마다 “이것은 선행발명 9에 있고”, “저것은 선행발명 10에서 도출 가능하다”는 식으로 진보성을 부정하였습니다. 그러나 대법원은 “특유의 과제 해결원리에 기초하여 유기적으로 결합된 전체로서의 구성의 곤란성”을 따져야 한다며 이를 부정하였습니다.

무효심판 청구인이든 특허권자이든, 구성요소별 대비표를 작성하는 것 자체는 필요하지만, 그 대비가 결합의 전체적 곤란성과 결합 동기의 존부까지 나아가야 합니다.

(2) 선행발명의 기술적 과제를 적극 활용해야 합니다

대법원은 차이점 1에서 선행발명 5의 기술적 과제(두 인장 장치의 독립적 배치)를 구체적으로 분석하고, 그 과제에 반하는 결합(파이로테크닉 텐셔너의 제거)은 동기가 없다고 판단하였습니다. 이는 무효심판이나 심결취소소송에서, 특허권자 측이 “선행발명의 기술적 과제와 본원 특허발명의 기술적 과제가 다르다”는 점을 적극적으로 주장해야 하는 근거가 됩니다.

반대로, 무효를 주장하는 측에서는 결합하고자 하는 선행발명들의 기술적 과제가 서로 양립 가능한지, 결합 시 어느 한쪽의 기술적 과제가 훼손되지 않는지를 사전에 면밀히 검토해야 합니다.

(3) 부정적 교시의 증거적 활용

대법원이 선행발명 10의 명세서 기재(“프리텐셔너 기구 생략 시 좌우 밸런스 불균형 발생”)를 부정적 교시로 평가한 점은 실무적으로 중요합니다. 선행발명의 명세서에 “구성요소 A를 생략하면 문제 B가 발생한다”는 취지의 기재가 있다면, 이는 해당 구성요소의 생략이나 제거를 내용으로 하는 결합에 대한 부정적 교시가 됩니다.

특허권자 측에서는 선행발명의 명세서를 면밀히 검토하여, 결합을 부정하는 방향의 기재(문제점 발생, 추가 설계 변경 필요성 언급 등)를 적극 발굴할 필요가 있습니다.

(4) 기능적 대응 관계의 정확한 파악

차이점 3에서 대법원은 “외관상 유사해 보이는 구성요소라도, 수행하는 기능이 다르면 대응 구성요소가 아니다”라는 점을 명확히 하였습니다. 선행발명 9의 폴(20)은 부하 제한 기능을, 이 사건 특허발명의 잠금장치(4)는 잠금 기능을 수행하므로, 명칭이 유사하더라도 결합 동기가 없다는 것입니다.

이는 진보성 판단에서 구성요소 대비를 할 때, 단순한 구조적 유사성이 아니라 기능적 대응 관계를 정확히 파악하는 것이 중요하다는 점을 보여줍니다.

(5) 심급별 엇갈린 판단이 주는 교훈

같은 특허에 대하여 특허심판원과 대법원은 진보성을 인정하였고, 특허법원만 진보성을 부정하였습니다. 특허심판원은 비교대상발명 1~4를 대비하면서 구성요소 간 유기적 결합과 기술적 과제의 차이를 상세히 분석하였고, 대법원도 선행발명 5, 9, 10에 대해 같은 방법론을 적용하였습니다. 반면 특허법원은 개별 차이점에 대한 결합 가능성에 집중하여, 전체적인 결합 곤란성과 기술적 과제의 차이에 대한 검토가 부족하였던 것으로 보입니다.

이 사건은 특히 무효심판 및 심결취소소송 단계에서, 결합 발명의 진보성을 다투는 양쪽 모두에게 유의미한 사례입니다.

한계 및 유사 사건

이 판결은 기계 분야의 결합 발명에 관한 것으로, 화학·바이오 분야의 진보성 판단에는 직접 적용하기 어려운 측면이 있습니다. 또한 이 판결은 “선행발명 5에 선행발명 9, 10을 결합”하는 특정한 결합 관계에서의 진보성만을 판단한 것이므로, 다른 선행발명의 조합에 의한 진보성 부정 여부는 환송심에서 별도로 다투어질 수 있습니다.

유사한 쟁점이 다루어진 판결로는 대법원 2015. 11. 27. 선고 2013후3326 판결(여러 선행기술 결합의 암시·동기 요건)이 있고, 사후적 고찰 금지에 관한 법리로는 대법원 2007. 8. 24. 선고 2006후138 판결이 대표적입니다.


작성자: 여인재 변리사 | 프로필 보기 전문분야: 상표·디자인 분쟁, 특허 심판·소송 최종 업데이트: 2026-03-25