마스크 구조가 달라도 특허침해인가 — 대법원이 뒤집은 균등침해 작용효과 판단 기준

마스크 구조가 달라도 특허침해인가 — 대법원이 뒤집은 균등침해 작용효과 판단 기준

목차

마스크 구조가 다른데도 특허침해가 성립하는가 — 대법원 2022후10722 판결

마스크 구조가 달라도 균등침해가 성립할 수 있다. 대법원(2022후10722)은 부수적 효과의 차이만으로는 작용효과의 실질적 동일성을 부정할 수 없다고 판단하여 원심을 파기환송하였다.

대법원은 2026. 1. 29. 선고 2022후10722 판결에서, 마스크의 걸이끈과 덮개부 결합 구조가 특허발명과 다르더라도 균등침해가 성립할 수 있다고 판단하면서 원심을 파기환송하였습니다. 이 사건에서 특허심판원과 특허법원은 모두 확인대상발명이 특허발명의 권리범위에 속하지 않는다고 판단하였으나, 대법원은 두 발명이 동일한 기술과제를 해결하는 이상 구조적 차이에서 비롯된 효과 차이는 부수적 효과에 불과하다고 보아 결론을 뒤집었습니다. 이 판결은 제품의 구조를 변경하여 특허를 회피하려는 실무에 직접적인 영향을 미치는 판결입니다.

종래 판례의 균등침해 작용효과 판단 기준

균등침해의 성립 요건

균등침해란 확인대상 발명이 특허발명의 청구범위에 기재된 구성 중 일부를 변경하였더라도, 일정한 요건 하에서 여전히 특허발명의 권리범위에 속한다고 보는 대법원 판례법으로 확립된 법리입니다. 이는 특허법 제97조가 규정하는 특허발명의 보호범위를 실질적으로 확장하는 기능을 합니다. 대법원은 균등침해의 성립요건으로 (1) 과제 해결원리의 동일성, (2) 작용효과의 실질적 동일성, (3) 치환자명성(구성 변경의 용이성)이라는 세 가지 적극적 요건과, (4) 자유실시기술 항변의 부존재, (5) 출원경과금반언의 부존재라는 두 가지 소극적 요건을 확립하여 왔습니다.

이번 사건에서 쟁점이 된 것은 위 요건 중 제2요건, 즉 작용효과의 실질적 동일성 판단입니다.

작용효과 동일성의 이원적 판단 구조

종래 대법원 판례는 작용효과 동일성 판단에 관하여 두 가지 판단 경로를 발전시켜 왔습니다.

구분판단 방법적용 조건참조판례
전제과제 해결원리 판단 시, 명세서 기재와 출원 당시 공지기술 등을 참작하여 특허발명에 특유한 해결수단의 기술사상을 실질적으로 탐구균등 판단의 기초2012후1132, 2017후424
원칙선행기술에서 미해결이었던 과제를 양 발명 모두 해결하면, 작용효과가 실질적으로 동일특허발명이 해결한 과제가 선행기술에서 미해결이었던 경우2015후2327, 2021후10589
예외균등 여부가 문제되는 구성요소의 개별적 기능·역할을 비교하여 판단특허발명이 해결한 과제가 선행기술에서도 해결되었던 기술과제에 불과한 경우2018다267252

대법원 2019. 2. 14. 선고 2015후2327 판결과 대법원 2022. 1. 14. 선고 2021후10589 판결은 “선행기술에서 해결되지 않았던 기술과제로서 특허발명이 해결한 과제를 확인대상 발명도 해결한다면 원칙적으로 확인대상 발명의 작용효과와 특허발명의 작용효과가 실질적으로 동일하다고 볼 수 있다”는 법리를 확립하였습니다.

반면 대법원 2019. 1. 31. 선고 2018다267252 판결은 “특허발명이 해결한 기술과제가 선행기술에서도 해결되었던 기술과제에 불과하다면, 확인대상 발명과 특허발명에서 균등 여부가 문제되는 구성요소의 개별적 기능이나 역할 등을 비교하여 작용효과가 실질적으로 동일한지 여부를 판단하여야 한다”고 판시하였습니다. 즉, 특허발명만의 고유한 과제가 없는 경우에는 원칙적 경로가 아닌 구성요소별 기능 비교라는 예외적 경로로 판단하여야 한다는 것입니다.

이번 사건의 쟁점은 원칙적 경로를 적용하여 양 발명이 동일한 미해결 과제를 해결한다고 인정된 경우, 확인대상발명에 특허발명과 다른 추가적 효과가 있다는 사정만으로 작용효과의 실질적 동일성을 부정할 수 있는지 여부입니다.

이 사건의 사실관계

특허발명의 구조 — 제1131866호 “마스크”

이 사건 특허발명(제1131866호, 출원일 2010. 5. 10., 등록일 2012. 3. 23.)은 마스크본체의 덮개부와 걸이끈의 결합 구조에 관한 발명입니다. 특허권자는 (주)파인텍이며, 실시자는 주식회사 제이트로닉스입니다.

이 사건 제1항 발명의 구성은 다음과 같습니다.

특허발명 제1131866호 주요 도면 모음 — 도 1 내지 도 7. 마스크본체의 덮개부, 걸이끈, 밀착공부, 끈당김이격공간 등 전체 구성요소의 상세 구조를 여러 방향에서 도시

특허발명(제1131866호)의 주요 도면 전체. 마스크의 덮개부, 걸이끈, 밀착공부, 끈당김이격공간 등 각 구성요소의 결합 관계가 다양한 방향에서 도시되어 있다.

특허발명 제1131866호 도면 7 — 마스크 전체 구조도. 덮개부(11), 걸이끈(12,14), 밀착공부(13,15) 등 주요 구성요소 표시

[도면 7] 특허발명의 마스크 전체 구조. 덮개부(11), 좌측걸이끈(12), 우측걸이끈(14), 좌측밀착공부(13), 우측밀착공부(15) 등이 표시되어 있다.

① 마스크본체의 덮개부: 중앙덮개부, 상부덮개부, 하부덮개부로 구성 ② 좌/우측걸이끈: 덮개부 양측에 연결 ③ 밀착공부: 덮개부 양측에 형성되어 걸이끈이 이를 관통하여 연결 ④ 끈당김이격공간: 걸이끈이 밀착공부를 관통한 후 형성되는 공간으로, 이를 통해 마스크가 조립

이 구조의 기술사상은, 걸이끈이 밀착공부를 관통하고 끈당김이격공간에 의하여, 착용 시 마스크가 안면에 밀착되면서도 사용자 얼굴 크기에 맞게 길이 조절이 가능하다는 것입니다. 즉, 종래 마스크에서 걸이끈 결합 구조와 길이 조절 구조가 별도로 구성되어 복잡하였던 문제를, 밀착공부 관통 + 끈당김이격공간이라는 하나의 구조로 동시에 해결한 것입니다.

확인대상발명(피고 제품)의 구조

확인대상발명(피고 제품)도 유사한 마스크 구조이나, 걸이끈과 덮개부의 결합 방식에서 차이가 있습니다.

확인대상발명(피고 제품) 사진 — 중앙덮개부(1100a), 좌측걸이끈(2100), 우측걸이끈(2200), 밀착공부 등 모든 구성요소에 부호 표시

확인대상발명의 실물 사진. 중앙덮개부(1100a), 좌측걸이끈(2100), 우측걸이끈(2200), 상하부밀착공부(1200~1500) 등 주요 구성요소가 표시되어 있다.

확인대상발명은 특허발명과 마찬가지로 중앙덮개부, 상부덮개부, 하부덮개부를 갖는 덮개부와 좌/우측걸이끈을 포함하고 있으며, 좌우측 상하부밀착공부와 끈당김이격공간을 포함하는 마스크입니다.

두 발명의 구조 비교 — 무엇이 같고, 무엇이 다른가

특허발명 도면(도 3 일부)과 확인대상발명 사진의 나란히 비교. 결합영역, 밀착공, 밀착공부, 걸이끈, 중앙덮개부, 끈당김이격공간 구성요소 표시

[좌] 특허발명 도 3의 일부, [우] 확인대상발명의 해당 부분 사진. 색상선으로 대응하는 구성요소(결합영역, 밀착공, 밀착공부, 걸이끈, 중앙덮개부, 끈당김이격공간)가 표시되어 있다.

두 발명의 주요 구성요소를 대비하면 다음과 같습니다.

구성요소특허발명 (제1항)확인대상발명 (피고 제품)동일/차이
덮개부 구조중앙덮개부 + 상부덮개부 + 하부덮개부중앙덮개부(1100a) + 상부덮개부(1100b) + 하부덮개부(1100c)동일
걸이끈좌/우측걸이끈좌측걸이끈(2100) / 우측걸이끈(2200)동일
밀착공부덮개부 양측에 형성좌우측 상하부밀착공부(1200~1500)동일
끈당김이격공간밀착공부 관통 후 형성좌우측끈당김이격공간(1900a, 1900b)동일
걸이끈-덮개부 결합 방식중앙부에서 분리된 걸이끈이 밀착공부를 관통하여 끈당김이격공간으로 조립외측에서 전체를 감싸는 방식 + 추가 연결부로 밀착하면서 밀착공부를 관통차이

위 표에서 보는 바와 같이, 두 발명은 덮개부, 걸이끈, 밀착공부, 끈당김이격공간이라는 기본 구성요소를 공통적으로 포함하고 있습니다. 차이가 발생하는 부분은 걸이끈이 덮개부에 결합하는 구체적인 방식입니다. 특허발명은 중앙부에서 분리된 걸이끈이 밀착공부를 관통하는 구조인 반면, 확인대상발명은 외측에서 전체를 감싸는 방식에 추가 연결부를 두면서 밀착공부를 관통하는 구조입니다.

이 구조적 차이가 균등침해 판단에서 어떻게 평가되었는지가 본 사건의 본질입니다.

비교대상발명(선행기술)

이 사건에서 특허심판원 단계에서 검토된 선행기술은 다음과 같습니다.

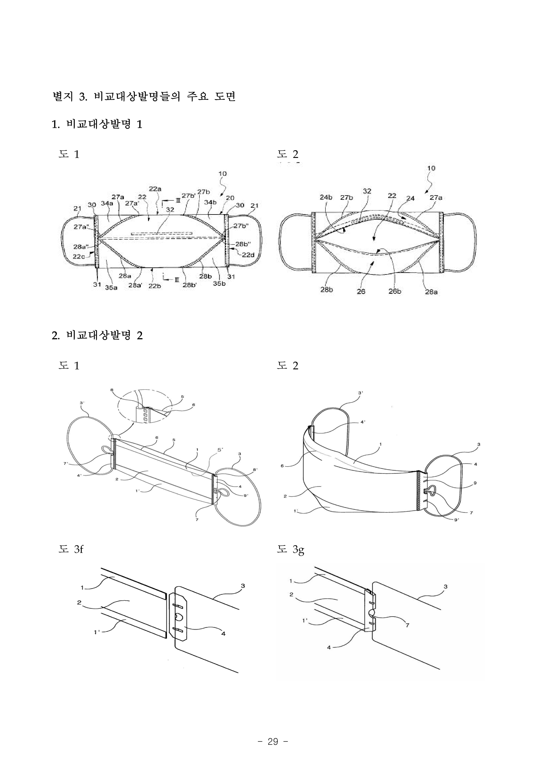
(1) 비교대상발명 1 (일본 특개2007-159784, 공개일 2007. 6. 28.): 방진용 마스크로서, 중심패널과 제1·제2 패널의 연결 구조를 개시하고 있습니다.

(2) 비교대상발명 2 (국내 등록 제510164호, 등록일 2005. 8. 25.): 일회용 방진 마스크로서, 걸이밴드가 마감부 내부에서 유동하여 사용자 얼굴 크기에 맞게 길이를 조절하는 구조를 개시하고 있습니다.

비교대상발명(선행기술) 도면 — 비교대상발명 1(일본 특개2007-159784)과 비교대상발명 2(등록 제510164호)의 마스크 구조 도면. 걸이끈과 덮개부의 결합 구조가 특허발명과 상이함을 도시

비교대상발명(선행기술)의 도면. 비교대상발명 1(일본 특개2007-159784)과 비교대상발명 2(등록 제510164호)의 마스크 구조가 도시되어 있다.

이들 선행기술은 마스크의 기본적인 밀착 기능이나 길이 조절 기능을 개별적으로 개시하고 있으나, 밀착공부 관통 + 끈당김이격공간이라는 하나의 결합 구조를 통해 밀착과 길이 조절을 동시에 달성하는 기술과제는 해결하지 못하고 있었습니다. 이 점이 대법원의 판단에서 결정적인 역할을 하게 됩니다.

특허심판원과 특허법원은 왜 ‘권리범위 불속’이라고 판단했는가

특허심판원 2021당660 (2021. 12. 29.) — 기각

특허심판원은 (주)파인텍의 적극적 권리범위확인심판 청구를 기각하면서, 확인대상발명이 특허발명의 권리범위에 속하지 않는다고 판단하였습니다. 그 주요 논거는 다음과 같습니다.

(1) 구성요소별 대비에서의 차이점: 상부덮개부 결합 방식(구성요소 2), 밀착공부를 관통하는 구조의 차이(구성요소 3.1), 추축상부밀착공의 해석(구성요소 3.2), 끈당김이격공간의 작용 방식(구성요소 4) 등에서 차이점이 존재

(2) 균등론 부정: 과제 해결원리는 동일하나, 작용효과의 동일성이 부정되고, 소극적 요건으로서 확인대상발명이 비교대상발명 1과 2로부터 쉽게 발명할 수 있는 자유실시기술에 해당한다고 보아 균등관계를 부정

특허법원 — 청구기각

특허법원도 원고의 청구를 기각하였습니다. 특허법원은 확인대상발명이 이 사건 제1항 발명과의 차이점으로 인하여 실질적으로 동일한 작용효과를 나타내지 않아 균등관계가 부정된다고 판단하였습니다.

특허법원이 지적한 작용효과의 차이는, 확인대상발명이 걸이끈과 덮개부의 결합 방식이 다르기 때문에 특허발명과 다른 추가적인 효과를 나타낸다는 것이었습니다. 즉, 확인대상발명의 외측 감싸기 방식과 추가 연결부 구조에서 비롯되는 효과가 특허발명에는 없으므로, 작용효과가 실질적으로 동일하지 않다고 본 것입니다.

이로써 특허심판원과 특허법원이 모두 확인대상발명은 특허발명의 권리범위에 속하지 않는다고 결론 내렸습니다. 특허권자 입장에서는 2심까지 연패한 상황이었습니다.

대법원은 왜 결론을 뒤집었는가

대법원이 제시한 작용효과 동일성 판단의 법리

대법원은 원심을 파기환송하면서, 다음과 같은 법리를 설시하였습니다.

“특허발명과 대비되는 확인대상 발명이 특허발명의 권리범위에 속한다고 하기 위해서는 특허발명의 청구범위에 기재된 각 구성요소와 그 구성요소 간의 유기적 결합관계가 확인대상 발명에 그대로 포함되어 있어야 한다. 확인대상 발명에 특허발명의 청구범위에 기재된 구성 중 변경된 부분이 있는 경우에도 특허발명과 과제 해결원리가 동일하고, 실질적으로 동일한 작용효과를 나타내며, 그와 같이 변경하는 것이 그 발명이 속하는 기술분야에서 통상의 지식을 가진 사람이라면 누구나 쉽게 생각해 낼 수 있는 정도라면, 특별한 사정이 없는 한 확인대상 발명은 특허발명의 청구범위에 기재된 구성과 균등한 것으로서 여전히 특허발명의 권리범위에 속한다고 보아야 한다.”

이어서 대법원은 과제 해결원리 판단법에 관하여 다음과 같이 판시하였습니다.

“청구범위에 기재된 구성의 일부를 형식적으로 추출할 것이 아니라, 명세서에 적힌 발명에 관한 설명의 기재와 출원 당시의 공지기술 등을 참작하여 선행기술과 대비하여 볼 때 특허발명에 특유한 해결수단이 기초하고 있는 기술사상의 핵심이 무엇인가를 실질적으로 탐구하여 판단하여야 한다.”(대법원 2014. 7. 24. 선고 2012후1132 판결 참조)

대법원은 이러한 판단의 취지에 관하여, 특허법이 보호하려는 특허발명의 실질적 가치는 선행기술에서 해결되지 않았던 기술과제를 특허발명이 해결하여 기술발전에 기여하였다는 데에 있으므로, 확인대상 발명의 변경된 구성요소가 특허발명의 대응되는 구성요소와 균등한지를 판단할 때에도 특허발명에 특유한 과제 해결원리를 고려하여야 한다고 설시하였습니다(대법원 2019. 1. 31. 선고 2017후424 판결 참조).

대법원의 구체적 판단 — 세 단계의 논리 전개

대법원의 판단은 세 단계로 구조화할 수 있습니다.

(1) 과제 해결원리의 동일성 인정

대법원은 확인대상발명이 이 사건 제1항 발명과 과제 해결원리가 동일하다고 판단하였습니다. 양 발명 모두 밀착공부를 관통하는 걸이끈 구조와 끈당김이격공간을 통하여, 마스크의 안면 밀착성과 사용자별 길이 조절이라는 기술과제를 해결하는 동일한 기술사상에 기초하고 있기 때문입니다.

(2) 작용효과의 실질적 동일성 인정 — 과제 해결 관점

이것이 본 판결의 가장 중요한 판단입니다. 대법원은 다음과 같이 판시하였습니다.

“선행기술에서 해결되지 않았던 기술과제로서 특허발명이 해결한 과제를 확인대상 발명도 해결한다면 원칙적으로 확인대상 발명의 작용효과와 특허발명의 작용효과가 실질적으로 동일하다고 볼 수 있다.”

대법원은 이 원칙을 이 사건에 적용하여, 선행기술(비교대상발명 1, 2)에서는 해결되지 않았던 기술과제 — 즉, 마스크의 안면 밀착성 확보와 사용자별 길이 조절을 하나의 결합 구조로 동시에 달성하는 과제 — 를 특허발명뿐만 아니라 확인대상발명도 해결하고 있으므로, 원칙적으로 양 발명의 작용효과는 실질적으로 동일하다고 판단하였습니다.

(3) 원심이 지적한 차이는 부수적 효과에 불과

그러나 특허법원은 확인대상발명에 특허발명과 다른 작용효과가 있다고 보았습니다. 이에 대하여 대법원은 결정적인 판단을 내렸습니다.

대법원은 확인대상발명에 원심 판시와 같은 작용효과가 있다고 하더라도, 이는 “일반적으로 널리 쓰이는 기술수단을 채택한 데에 따른 부수적인 효과에 불과”하여, “실질적인 작용효과에 차이가 있다고 볼 수 없다”고 판시하였습니다.

즉, 확인대상발명이 외측 감싸기 방식이나 추가 연결부 등의 구조를 채택함으로써 특허발명에는 없는 일정한 추가적 효과를 나타내더라도, 그러한 효과는 해당 기술분야에서 널리 쓰이는 기술수단에서 비롯된 부수적 효과일 뿐이며, 양 발명이 해결하는 본질적 기술과제(안면 밀착 + 길이 조절)는 동일하다는 것입니다.

원심과 대법원의 판단이 갈린 지점

원심과 대법원의 판단이 갈린 결정적 지점을 정리하면 다음과 같습니다.

쟁점원심(특허법원)대법원
판단의 초점구성요소 차이에서 비롯된 개별 효과의 차이에 주목양 발명이 해결하는 기술과제의 동일성에 주목
효과 차이의 평가확인대상발명의 추가적 효과 → 작용효과가 실질적으로 동일하지 않음추가적 효과는 널리 쓰이는 기술수단 채택에 따른 부수적 효과 → 실질적 차이 아님
선행기술과의 관계별도 고려하지 않음선행기술에서 미해결이었던 과제를 양 발명 모두 해결한다는 점을 중시
결론균등관계 부정 → 권리범위 불속균등관계 인정 가능 → 파기환송

이처럼 대법원은 작용효과 동일성 판단에서 개별 구성요소의 세부적 효과 차이가 아니라, 양 발명이 공통적으로 해결하는 기술과제의 동일성을 판단의 중심에 놓아야 한다는 것을 명확히 하였습니다. 그리고 그러한 과제가 선행기술에서 미해결이었던 것이라면, 확인대상발명에 추가적인 효과가 있더라도 이는 부수적 효과에 불과하여 작용효과의 실질적 동일성을 부정하는 근거가 될 수 없다고 판시한 것입니다.

이 판결이 제품 개발과 특허 실무에 미치는 영향은 무엇인가

실무적 의의 및 시사점

이처럼 본 판결은 균등침해 판단에서 작용효과 동일성의 실질적 판단 기준을 구체화한 것으로, 특허권자와 실시자 양측 모두에게 중요한 실무적 시사점을 제공합니다.

(1) 특허권자의 관점: 구조 변경에 의한 회피 설계에 대한 대응력 강화

본 판결에 따르면, 확인대상발명이 특허발명의 구성을 일부 변경하였더라도, 양 발명이 동일한 미해결 기술과제를 해결하는 이상 균등침해가 성립할 수 있습니다. 이는 특허권자가 경쟁사의 회피 설계에 대하여 권리 행사할 수 있는 범위를 넓혀 주는 것입니다.

구체적으로, 권리범위확인심판이나 침해소송에서 작용효과 동일성을 주장할 때, 개별 구성요소의 기능 차이가 아니라 “선행기술에서 미해결이었던 기술과제를 양 발명 모두 해결하고 있다”는 점을 중심으로 논증하는 것이 효과적인 전략이 될 수 있습니다.

(2) 실시자(경쟁사)의 관점: 단순한 구조 변경만으로는 특허 회피가 불충분

반대로, 특허 회피를 목적으로 제품 구조를 변경하는 실시자 입장에서는, 본 판결이 경고하는 바가 명확합니다. 구조를 변경하여 부수적인 효과 차이를 만들어 내더라도, 특허발명이 해결한 본질적 기술과제와 동일한 과제를 해결하는 한, 균등침해에서 벗어나기 어렵습니다.

특허를 실질적으로 회피하려면, 단순히 구성의 형태를 변경하는 것이 아니라, 과제 해결원리 자체가 다른 기술적 접근을 채택하여야 합니다. 이는 제품 개발 단계에서부터 경쟁사 특허의 기술사상을 정확히 분석하고, 그 기술사상과 근본적으로 다른 방식으로 동일한 기능을 구현하는 설계가 필요하다는 것을 의미합니다.

(3) 구조가 단순한 발명에서의 균등론 적용

본 사건은 마스크라는 비교적 구조가 단순한 생활용품에 관한 특허입니다. 이러한 기술분야에서는 제품 구조의 변경 여지가 한정되어 있어, 회피 설계가 “다른 구조이지만 결국 같은 과제를 해결하는” 결과에 이르기 쉽습니다. 본 판결은 이러한 기술분야에서 균등론이 적극적으로 적용될 수 있음을 보여주는 사례라 할 수 있습니다.

따라서 마스크, 생활용품, 기계부품 등 구조가 비교적 단순한 발명의 특허권자는, 경쟁 제품이 구성을 다소 변경하였더라도 동일한 기술과제를 해결하고 있다면 균등침해를 적극적으로 주장하는 것을 고려할 필요가 있습니다. 특허침해 분쟁의 전략 수립에 관하여는 특허사무소 소담의 특허 심판·소송 서비스를 참고하시기 바랍니다.

이 판결의 한계와 유의사항

본 판결은 균등침해의 제2요건(작용효과 동일성)에 관한 판단 기준을 명확히 한 것이지만, 다음과 같은 한계를 인식할 필요가 있습니다.

(1) 본 판결은 파기환송 판결이므로, 환송심에서 나머지 균등침해 요건 — 치환자명성(구성 변경의 용이성), 자유실시기술 항변, 출원경과금반언 등 — 에 대한 추가 판단이 이루어져야 합니다. 작용효과 동일성이 인정되더라도 최종적으로 균등침해가 성립하지 않을 가능성이 남아 있습니다.

(2) “부수적 효과”와 “본질적 작용효과”의 구별은 사안마다 기술분야, 선행기술의 범위, 특허발명이 해결한 과제의 특수성에 따라 결론이 달라질 수 있습니다. 본 판결의 판단 기준을 다른 기술분야에 기계적으로 적용하는 것은 적절하지 않을 수 있습니다.

(3) 특허발명이 해결한 기술과제가 선행기술에서 이미 해결되었던 경우에는, 본 판결의 원칙적 판단 경로가 아닌 예외적 경로(구성요소의 개별 기능·역할 비교)가 적용되므로, 기술과제의 신규성에 대한 분석이 선행되어야 합니다.

따라서 향후 균등침해 사건에서는 작용효과 동일성을 다투기에 앞서, 특허발명이 해결한 기술과제가 선행기술 대비 어떤 위치에 있는지를 먼저 분석하고, 그 위에서 부수적 효과와 본질적 작용효과를 구분하여 주장을 구성하는 것이 중요하겠습니다.

관련 판례의 원문은 대법원 종합법률정보에서 사건번호 “2022후10722″로 검색하여 확인할 수 있습니다.


작성자: 여인재 변리사 | 프로필 보기 전문분야: 상표·디자인 분쟁, 특허 심판·소송 최종 업데이트: 2026-03-30