특허등록, 건축 폐기물 이동 장치

특허등록, 건축 폐기물 이동 장치

출원번호 10-2023-0154126
출원일자 2023년11월09일
심사청구일자 2023년11월09일

등록번호 10-2904887
등록일자 2025년12월23일

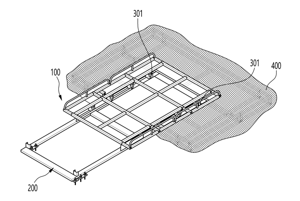
발명의 요약 : 본 실시예의 건축 폐기물 이동 장치는, 건물 내에 있는 수거해야 할 폐기물을 건물 외부로 빼내기 위한 장치로서, 건물 내부에 배치되는 내측 지지부와, 건물 외부에 위치하게 되는 외측 지지부와, 상기 내측 지지부 및 외측 지지부 상에서 이동가능하도록 구성되는 슬라이딩 이동부를 포함한다.

도면