출원번호 10-2017-0092724
출원일자 2017년07월21일
심사청구일자 2017년07월21일
등록번호 10-2074767
등록일자 2020년02월03일
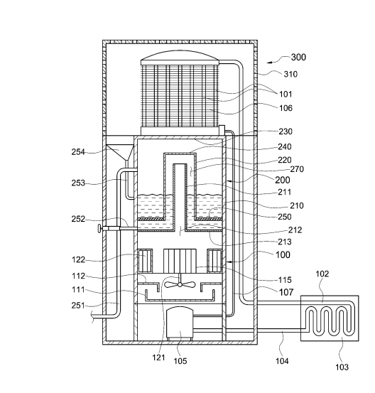
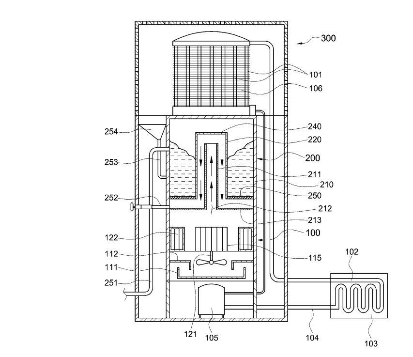
발명의 요약 : 본 발명의 냉온 공기를 배출하는 무필터 공기청정장치는, 물이 수용되는 본체 수단; 및 상기 본체 수단으로 공기를 불어넣기 위한 송풍팬과, 상기 송풍팬을 회전시키기 모터부를 갖는 송풍 수단;을 포함하고, 상기 본체 수단은 외형을 형성하면서 물을 수용하는 외통과, 상기 외통 내부에 배치되어 와류 형성된 공기의 이동 통로를 제공하는내통을 포함하고, 상기 외통은 내부에 배치되어 공기가 이동하는 공기 통로관과, 상기 외통의 하부를 형성하는 외통 바닥부와, 상기 공기 통로관이 위치한 상기 외통 바닥부에 형성된 통로홀을 포함하고, 상기 내통은 상기 공기 통로관의 둘레를 감싸는 형상으로 이루어지고, 상기 내통의 하부에는 상기 내통 내부에 수용될 수 있는 크기의 하측 플레이트가 구성되고, 상기 하측 플레이트는 상기 외통 바닥부로부터 소정 거리 이격되도록 배치되고, 상기 하측 플레이트의 테두리에는 복수개의 와류 형성홀이 구성되고, 상기 본체 수단의 상측에는 배출되는 공기를 가열 또는 냉각시키기 위한 온도 조절 수단이 구성된다.
도면

