발명의 영문 명칭 : AGRICULTURAL WORK VEHICLE
출원번호 10-2018-0016323
출원일자 2018년02월09일
등록번호 10-2488441
등록일 2023년01월10일
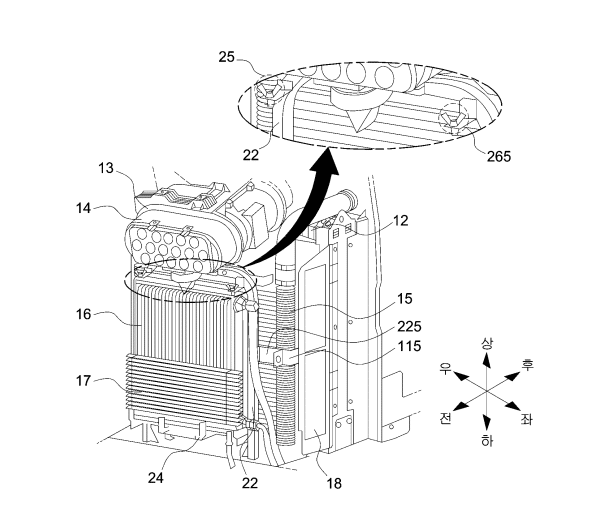
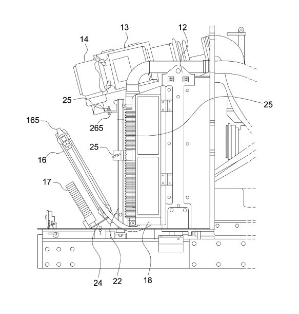
발명의 요약 : 본 발명의 농업용 작업차는, 엔진룸의 외형을 형성하는 본네트와, 상기 엔진룸 내에서 엔진 전방에 설치되는 라디에이터와, 상기 라디에이터 전방에 설치되는 에어클리너 지지대와, 상기 에어클리너 지지대에 고정 지지되는 에어클리너와, 상기 라디에이터 전방에 설치되는 인터쿨러와, 상기 인터쿨러 전방에 설치되는 오일쿨러와, 상기 오일쿨러 전방에 설치되는 연료쿨러와, 상기 라디에이터와 상기 인터쿨러 측면을 따라 설치되고, 상기 엔진룸 내부를 향해 경사지게 형성된 차단판 및 상기 차단판 내에 설치된 방충필터를 포함하는 것을 특징으로 한다.
도면

