출원번호 10-2022-0095339
출원일자 2022년08월01일
심사청구일자 2022년08월01일
등록번호 10-2784046
등록일자 2025년03월14일
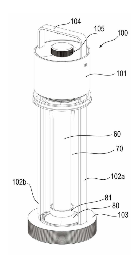
발명의 요약 : 실시예의 다용도 LED 랜턴은, 외형을 형성하는 상부 바디와, 상기 상부 바디 하측으로 연장되는 적어도 하나 이상의 버티컬 바로 이루어진 하부 바디와, 상기 하부 바디 하부를 지지하는 베이스부와, 상기 상부 바디에 결합되는 방열 수단과, 상기 방열 수단 내측으로 일부가 삽입되는 LED 홀더와, 상기 LED 홀더 내측면 또는 중앙부에 구성되는 LED 소자들과, 상하 또는 세로 방향으로 연장되도록 배치되어, 상기 상부 바디와 하부 바디 사이에 구성되는 적어도 하나 이상의 LED 바와, 상기 LED 바를 감싸는 형상으로 이루어지면서 패브릭 소재로 이루어진 패브릭 커버와, 상기 패브릭 커버를 감싸는 형상으로 이루어지면서 반투명 내지는 불투명 재질의 소재로 이루어진 적어도 하나 이상의 확산 커버와, 상기 확산 커버를 감싸는 형상으로 이루어지면서 투명 재질의 소재로 이루어진 투명 커버와, 상기의 LED 소자들과, LED 바의 동작을 사용자가 제어할 수 있도록 하는 조절부를 포함한다.
도면

