출원번호 10-2022-0010446
출원일자 2022년01월25일
심사청구일자 2022년01월25일
등록번호 10-2773940
등록일자 2025년02월24일
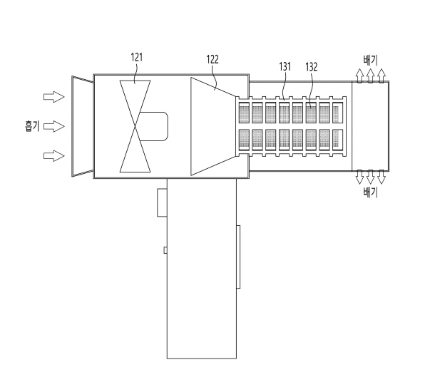
발명의 요약 : 본 실시예의 모기 퇴치 장치는, 전방에서 모기가 유입되도록 개방되어 있는 흡입부, 상기 흡입부의 후방에 배치되면서 공기를 내측으로 빨아들이도록 팬이 형성되어 있는 흡입 바디와, 상기 흡입 바디 내로 유입된 모기를 고전압이 흐르는 금속 그물망으로 이루어진 살충망을 이용해 살충시키는 살충 바디와, 상기 살충 바디에서 살충된 모기를 포집하면서 측방향으로 공기의 배출을 유도하도록 구성된 포집 바디와, 상기 흡입 바디 하측에 결합되고, 상기 살충 바디 내부에 구성된 팬과 상기 살충망의 동작을 제어하는 복수개의 스위치가 구성된 손잡이부를 포함하는 것을 특징으로 한다.
도면

