출원번호 10-2016-0036140
출원일자 2016년03월25일
심사청구일자 2016년03월25일
등록번호 10-1835208
등록일자 2018년02월27일
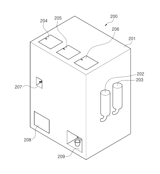
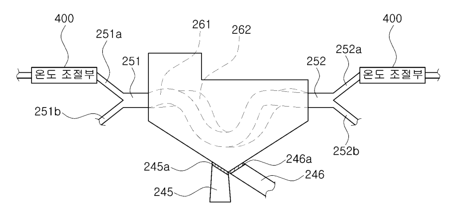
발명의 요약 : 본 발명의 음료 공급 장치는, 일체로 형성되고, 상하 방향으로 연장 형성되는 캡슐 바디와, 상기 캡슐 바디 내에 수용되고, 액체 또는 고체로 이루어진 충전물과, 상기 캡슐 바디 내에서 상기 충전물이 차지하는 공간 이외의 공간에 형성된 공기층으로 이루어지고, 상기 캡슐 바디의 상측 단부와 하측 단부에는 상기 캡슐 바디와 일체로 형성되면서 소정 길이 돌출 형성된 제 1 돌출부 및 제 2 돌출부가 구성되는 캡슐을 이용한 음료 공급 장치로서, 상기 캡슐이 보관되는 보관통과, 상기 보관통에 연결되어 상기 캡슐이 이동되도록 경로를 제공하는 공급 튜브와, 상기 공급 튜브를 통하여 빠져나오는 상기 캡슐을 지지하기 위한 고정부와, 상기 고정부에 안착된 상기 캡슐을 이동시키는 가압 수단과, 상기 가압 수단에 의하여 상기 캡슐의 하측으로부터 누출되는 충전물과, 물 또는 탄산수 또는 탄소 기체를 혼합하는 혼합 수단을 포함한다.
도면

