특허등록, 저항저감 구조의 도어 구조체

특허등록, 저항저감 구조의 도어 구조체

출원번호 10-2023-0111785
출원일자 2023년08월25일
심사청구일자 2023년08월25일

등록번호 10-2809517
등록일자 2025년05월14일

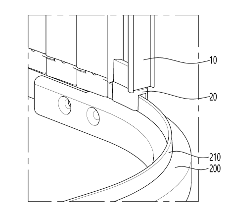
발명의 요약 : 본 실시예의 도어 구조체는, 상하 방향으로 연장되는 도어 모듈과, 상기 도어 모듈의 하부에 결합되는 브라켓과, 상기 브라켓 내부에 구성된 베어링과 접촉하는 테이퍼 레일을 포함하는 레일을 포함하고, 상기 테이퍼 레일의 양 측면은 경사면으로 이루어지는 것을 특징으로 한다.
그리고, 상기 테이퍼 레일은 사다리꼴 형상으로 이루어진다.

도면