특허등록, 진공채혈관 뚜껑 분리 자동화 장치

특허등록, 진공채혈관 뚜껑 분리 자동화 장치

발명의 영문 명칭 : Apparatus for separating automatically the cork of the blood collection tube

출원번호 10-2020-0090711
출원일자 2020년07월22일
심사청구일자 2020년07월22일

등록번호 10-2345717
등록일자 2021년12월28일

발명의 요약 :

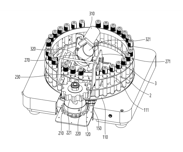
본 발명의 진공채혈관 뚜껑 분리 자동화 장치는, 튜브와 뚜껑으로 이루어진 진공채혈관들이 수납되도록 튜브 관통홀들이 소정 간격 이격되도록 형성된 튜브 지지 트레이와, 상기 튜브 지지 트레이 및 상기의 수납된 진공채혈관을 지지하는 캐러셀을 포함하는 트레이부와, 상기 트레이부의 하측에서 상기 캐러셀의 회전이 이루어지도록 하는 베이스부와, 상기 뚜껑을 밀어내어 상기 튜브로부터 분리시키는 뚜껑 제거휠이 구성되는 뚜껑 배출부를 포함한다.

도면