출원번호 10-2019-0135034
출원일자 2019년10월29일
등록번호 10-2884865
등록일자 2025년11월07일
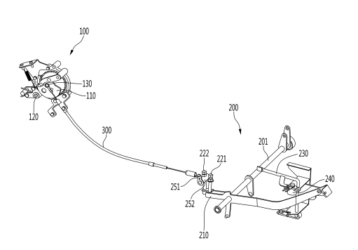
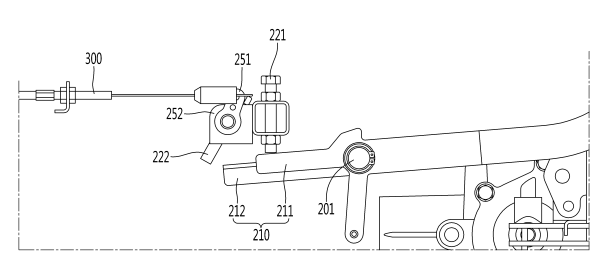
발명의 요약 : 실시예의 이앙기는, 식부하는 모의 양을 작업자가 선택할 수 있는 주수 선택 레버와, 이앙기의 작업 속도를 조절하기 위하여 작업자가 조작하는 가속 페달과 연결되어 상기 가속 페달의 조작에 따라 회전하도록 구성된 가속 페달 회전부를 포함하는 이앙기에 있어서, 상기 주수 선택 레버에 의해 선택되는 식부 주수를 확인하기 위한 주수 변속 센서와, 상기 주수 변속 센서로부터 전달되는 신호에 따라 회전하도록 구성된 회전캠과, 상기 회전캠에 연결되고, 상기 회전캠의 기설정된 방향으로의 회전에 의해 당겨지는 속도 규제 와이어와, 상기 속도 규제 와이어와 연결되고, 상기 속도 규제 와이어의 이동에 의하여 소정 각도 회전되는 와이어 연결부와, 상기 와이어 연결부의 회전과 함께 회전되는 제 2 스톱 볼트와, 상기 제 2 스톱 볼트의 하단보다 더 높은 위치에 하단이 위치하도록 구성된 제 1 스톱 볼트를 포함하고, 상기 가속 페달 회전부는 상기 제 1 스톱 볼트 또는 제 2 스톱 볼트의 하단에 접촉하는 경우에 회전이 제한되도록 구성되는 것을 특징으로 한다.
도면

