발명의 영문 명칭 : Door locking device for cattle shed
출원번호 10-2024-0029593
출원일자 2024년02월29일
심사청구일자 2024년02월29일
등록번호 10-2705917
등록일자 2024년09월06일
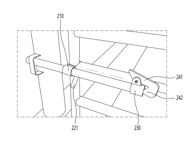
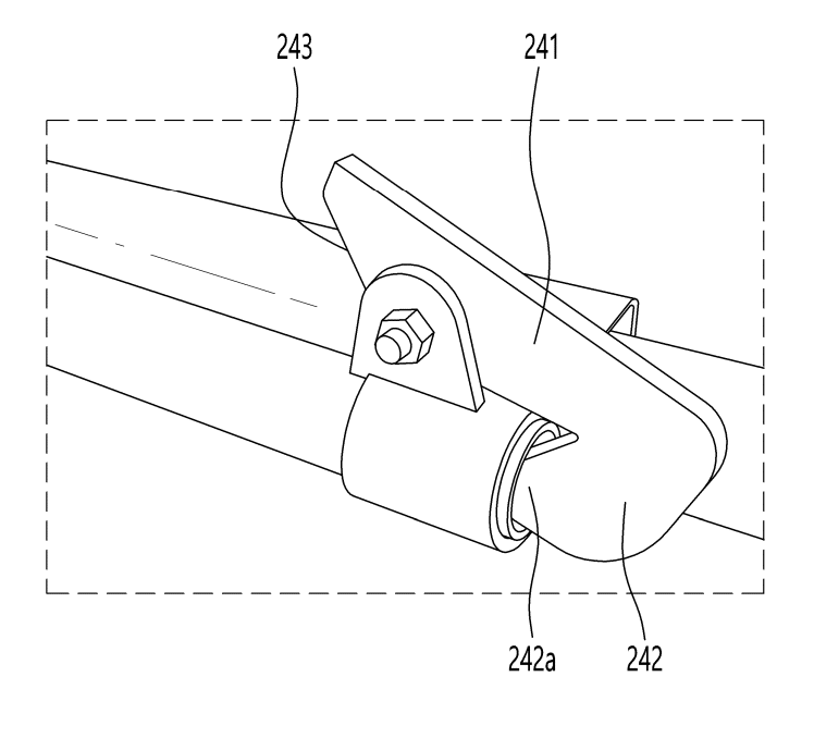
발명의 요약 : 본 발명의 실시예의 축사 도어 잠금장치는, 소정 두께의 가로봉과, 상기 가로봉에 수직하게 배치 및 결합되는 세로봉으로 이루어진 축사 도어에 설치가 가능한 잠금장치로서, 상기 축사 도어의 세로봉과 가로봉에 결합되는 도어 결합부와, 상기 도어 결합부에 결합되면서 상기 축사 도어의 잠금과 잠금 해제가 이루어지도록 하는 도어 잠금부를 포함하고, 상기 도어 결합부는 상기 가로봉의 윗면과 측면을 덮는 크기로 이루어진 가로봉 결합부와, 상기 가로봉 결합부의 일측으로부터 연장 형성되면서 상기 세로봉의 일부를 덮는 크기로 이루어진 세로봉 결합부를 포함하는 것을 특징으로 한다.
도면

