출원번호 10-2020-0048470
출원일자 2020년04월22일
심사청구일자 2023년04월06일
등록번호 10-2862070
등록일자 2025년09월16일
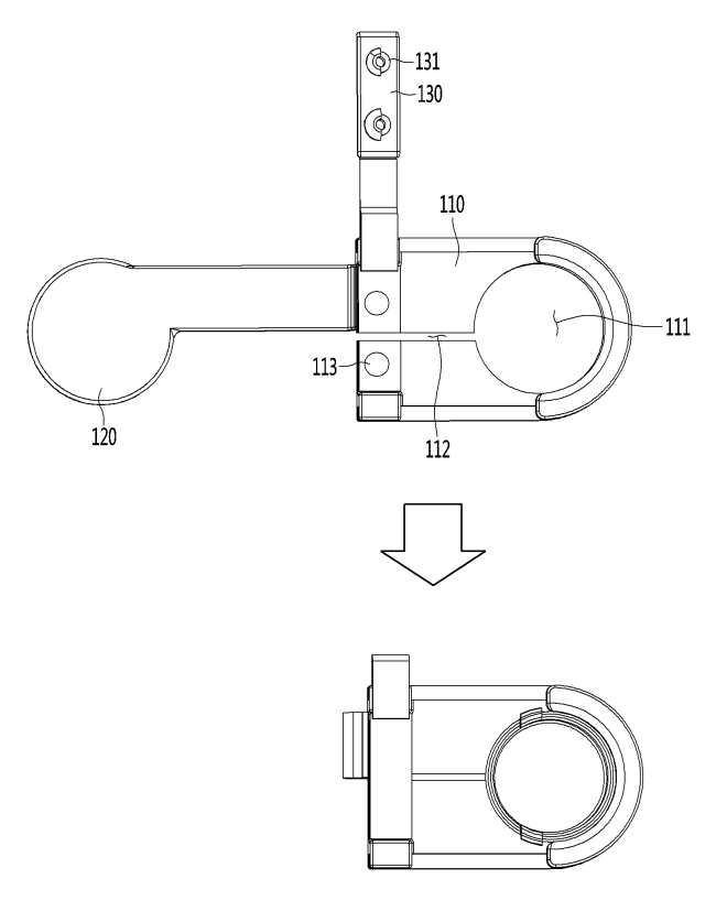
발명의 요약 : 실시예의 장치는, 작업자가 착석하는 캐빈을 형성하기 위하여 캐빈 지지대와, 캐빈 지지대 상의 캐빈 윈도우를 포함하는 작업 차량에 결합되는 캐빈 밀폐 장치로서, 상기 캐빈 지지대에 형성된 홀에 삽입 및 결합되는 배선 보호 바디와, 상기 배선 보호 바디의 일측으로부터 연장 형성되는 가이드 홀 밀폐부와, 상기 가이드 홀 밀폐부가 상기 배선 보호 바디의 결합이 해제되는 것을 억제하는 고정 수단을 포함한다.
본 실시예의 캐빈 밀폐 장치에 의해 작업기 배선을 캐빈 내에 위치시키는 경우와, 그렇지 않은 경우 모두 효과적으로 캐빈을 밀폐시킬 수 있으며, 이로 인해 작업 차량의 작업 도중 캐빈 윈도우가 닫혀지지 않는 경우가 발생하지 않는다.
도면

