특허등록, 해난 구조 장치

특허등록, 해난 구조 장치

발명의 영문 명칭 : RESCUE APPARATUS FOR MARINE ACCIDENT

출원번호 10-2023-0073259
출원일자 2023년06월08일
심사청구일자 2023년06월

등록번호 10-2618346
등록일자 2023년12월21일

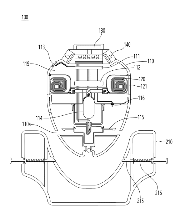
발명의 요약 : 본 발명에 따른 해난 구조 장치는 일측면에 형성된 제어버튼; 상기 제어버튼의 입력에 따라 동작되는 컨트롤러;
상기 컨트롤러의 제어에 따라 저장된 가스를 분출하는 가스저장부; 상기 가스저장부에서 분출된 가스가 주입되어 팽창하는 에어튜브; 및 상기 컨트롤러와 연결되어 해수 유입을 감지하여 감지신호를 상기 컨트롤러에 전달하는 해수 감지 센서가 형성된 몸체를 포함한다.

도면